一、產品簡介:
ET-1型稱重傳感器是吊鉤稱專用傳感器,彈性體采用整體合金鋼制作,具有過載能力強、精度高、抗偏載能力好等優點。在彈性體的上下端配套了專用的吊環、吊鉤,組裝吊稱十分方便。
二、技術指標:
|
量程 |
1~30t |
輸入電阻 |
765±15Ω |
|
靈敏度 |
1.5±0.10 mV/V |
輸出電阻 |
700±5Ω |
|
非線性 /滯后/重復性 |
± 0.02%FS |
絕緣電阻 |
≥ 5000 MΩ |
|
蠕 變 |
± 0.02%FS |
供橋電壓 |
10(DC/AC) V |
|
零點輸出 |
± 1.00%FS |
工作溫度 |
- 20~+60℃ |
|
零點溫度影響 |
± 0.02%FS/10℃ |
安全過載 |
300%FS |
|
輸出溫度影響 |
± 0.02%FS/10℃ |
材質 |
合金鋼 |
|
接線方式 |
輸入:紅(+)黑(-) 輸出:綠(+) 白(-) |
||
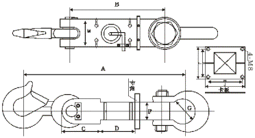
三、外形尺寸:

|
量程 t |
尺寸: mm |
||||||||
|
A |
B |
C |
D |
E |
F |
G |
H 1 *H 2 |
J 1 *J 2 |
|
|
1-3 |
443.0 |
260.0 |
98.0 |
110.0 |
56.0 |
43.0 |
68.0 |
60×70 |
74×84 |
|
5 |
547.0 |
303.0 |
118.0 |
120.0 |
68.0 |
54.0 |
92.0 |
65×90 |
82×110 |
|
10 |
611.0 |
325.0 |
133.0 |
130.0 |
80.0 |
60.0 |
99.0 |
76×110 |
100×130 |
|
20 |
740.0 |
354.0 |
158.0 |
148.0 |
106.0 |
70.0 |
146.0 |
80×130 |
110×160 |
|
30 |
911.0 |
436.0 |
188.0 |
170.0 |
102.0 |
80.0 |
184.0 |
80×130 |
110×160 |





